- 相關推薦
- 產品介紹
產地 | 東莞 | 是否進口 | 否 | 訂貨號 | 家具-1 |
加工定制 | 是 | 貨號 | 家具-1 | 型號 | LD-62 |
材質 | 金屬 | 適用范圍 | 家具 | 品牌 | LD |
是否跨境貨源 | 是 | 配套關系 | 適用 | 適用車型 | 通用 |
適配車型 | 通用 |
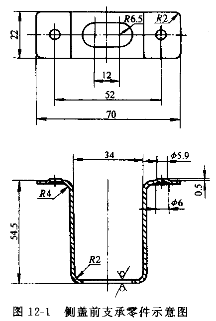
圖12-1所示為摩托車側蓋前支承零件示意圖,材料Q215鋼,厚度1.5mm,年生產量5萬件,要求編制該沖壓工藝方案。


圖12-1 側蓋前支承零件示意圖
⒈ 零件及其沖壓工藝性分析摩托車側蓋前支承零件是以2個

該零件端部四角為尖角,若采用落料工藝,則工藝性較差,根據該零件的裝配使用情況,為了改善落料的工藝性,故將四角修改為圓角,取圓角半徑為2mm。此外零件的“腿”較長,若能有效地利用過彎曲和校正彎曲來控制回彈,則可以得到形狀和尺寸比較準確的零件。
腰圓孔邊至彎曲半徑R中心的距離為2.5mm。大于材料厚度 (1.5mm),從而腰圓孔位于變形區之外,彎曲時不會引起孔變形,故該孔可在彎曲前沖出。
⒉ 確定工藝方案
首先根據零件形狀確定沖壓工序類型和選擇工序順序。沖壓該零件需要的基本工序有剪切(或落料)、沖腰圓孔、一次彎曲、二次彎曲和沖凸包。其中彎曲決定了零件的總體形狀和尺寸,因此選擇合理的彎曲方法十分重要。
(1) 彎曲變形的方法及比較
該零件彎曲變形的方法可采用如圖12-2所示中的任何一種。
第一種方法(圖12-2a)為一次成形,其優點是用一副模具成形,可以提高生產率,減少所需設備和操作人員。缺點是毛坯的整個面積幾乎都參與激烈的變形,零件表面擦傷嚴重,且擦傷面積大,零件形狀與尺寸都不精確,彎曲處變薄嚴重,這些缺陷將隨零件“腿”長的增加和“腿”長的減小而愈加明顯。
第二種方法(圖12-2b)是先用一副模具彎曲端部兩角,然后在另一副模具上彎曲中間兩角。這顯然比第一種方法彎曲變形的激烈程度緩和的多,但回彈現象難以控制,且增加了模具、設備和操作人員。
第三種方法(圖12-2c)是先在一副模具上彎曲端部兩角并使中間兩角預彎45°,然后在另一副模具上彎曲成形,這樣由于能夠實現過彎曲和校正彎曲來控制回彈,故零件的形狀和尺寸精確度高。此外,由于成形過程中材料受凸、凹模圓角的阻力較小,零件的表面質量較好。這種彎曲變形方法對于精度要求高或長“腳”短“腳”彎曲件的成形特別有利。

圖12-2 彎曲成形
a)一副模具成形 b)、c)兩副模具成形
根據沖壓該零件需要的基本工序和彎曲成形的不同方法,可以作出下列各種組合方案。
方案一:落料與沖腰圓孔復合、彎曲四角、沖凸包。其優點是工序比較集中,占用設備和人員少,但回彈難以控制,尺寸和形狀不精確,表面擦傷嚴重。
方案二:落料與沖腰圓孔復合、彎曲端部兩角、彎曲中間兩角、沖凸包。其優點是模具結構簡單,投產快,但回彈難以控制,尺寸和形狀不精確,而且工序分散,占用設備和人員多。
方案三:落料與沖腰圓孔復合、彎曲端部兩角并使中間兩角預彎45°、彎曲中間兩角、沖凸包。其優點是工件回彈容易控制,尺寸和形狀精確,表面質量好,對于這種長“腿”短“腳”彎曲件的成形特別有利,缺點是工序分散,占用設備和人員多。
方案四:沖腰圓孔、切斷及彎曲四角連續沖壓、沖凸包。其優點是工序比較集中,占用設備和人員少,但回彈難以控制,尺寸和形狀不精確,表面擦傷嚴重。
方案五:沖腰圓孔、切斷及彎曲端部沖腰圓孔、切斷連續沖壓、彎曲中間兩角、沖凸包。這種方案實質上與方案二差不多,只是采用了結構復雜的連續模,故工件回彈難以控制,尺寸和形狀不精確。
方案六:將方案三全部工序組合,采用帶料連續沖壓。其優點是工序集中,只用一副模具完成全部工序,其實質是把方案三的各工序分別布置在連續模的各工位上,所以還具有方案三的各項優點,缺點是模具結構復雜,安裝、調試和維修困難。制造周期長。
綜合上述,該零件雖然對表面外觀要求不高,但由于“腿”特別長,需要有效地利用過彎曲和校正來控制回彈,其方案三和方案六都能滿足這一要求,但考慮到該零件件生產批量不是太大,故選用方案三,其沖壓工序如下:
落料沖孔、一次彎形 (彎曲端部兩角并使中間兩角預彎45°)、二次彎形(彎曲中間兩角)、沖凸包。
上一篇:五金沖壓 下一篇:沒有了